全國服務熱線
13889943666
手動洛氏硬度計超詳細使用說明書視頻!看一遍就會了
時間:2021-12-18 11:30來源:洛氏硬度計技術部 作者:硬度計 點擊:
次
手動洛氏硬度計使用方法詳細講解視頻:(點開直接觀看)
數顯洛氏硬度計使用方法詳細講解視頻:(點開直接觀看)
一、概述
1、硬度
是材料抵抗彈性變形,塑性變形或破壞力的能力。對于壓入法進行的硬度試驗,硬度是物質抵抗另一較堅硬的具有一定形狀和尺寸的物體壓入其表面的能力。
2、洛氏硬度試驗的原理
洛氏硬度測定方法是用規定的壓頭,在先后施加的兩個試驗力(初試驗力Fo和總試驗力F)作用下,壓入試樣表面,在總試驗力保持一定的時間后,卸除主試驗力F1,保留初試驗力,測量其壓入深度h1,以壓入深度h1和在初試驗力作用下的壓入深度ho之差Δh表示洛氏硬度的高低,以壓頭軸向位移0.002毫米作為一個洛氏硬度單位,一般從指示表盤上直接讀出,其作用原理見下圖。
洛氏硬度值按下式計示HR=K-
式中C——常用等于0.002毫米
K——常數當采用金剛石圓錐壓頭時為100,
當采用鋼球壓頭時為130
洛氏硬度試驗原理圖
3、洛氏硬度試驗特點
洛氏硬度試驗采用測量壓入深度的方法,硬度值通過指示直接讀出,因此操作簡單方便,容易掌握,工作效率高,適應于成批零部件的檢驗;洛氏硬度試驗法,可以采用金剛石壓頭和剛球壓頭,可以測量較硬和較軟的試樣,使用范圍廣泛,因此洛式硬度計試驗在生產中得到廣泛應用,成為檢驗產品質量,確定合理的加工工藝的主要檢測手段。洛氏硬度計是生產企業,大中院校,科研機構進行硬度試驗,教學科研工作最常用的試驗儀器。
二、硬度計的應用
洛氏硬度試驗按材料硬度范圍,試驗厚度不同,可以選擇不同的壓頭及試驗力,并用不同的標尺表示,最常用的有A、B、C標尺,下表給出了常用標尺試驗力,壓頭、常數K的數值及適用范圍與應用舉例。
洛氏硬度計使用范圍
|
洛氏硬度標尺 |
硬度符號 |
壓頭類型 |
總試驗力
F牛頓(公斤) |
常數 |
適用范圍 |
應用舉例 |
|
A |
HRA |
金剛石圓錐壓頭 |
588.4(60) |
100 |
20-95HRA |
硬金屬及硬質合金 |
|
B |
HRBW |
直徑1.5875mm球壓頭 |
980.7(100) |
130 |
10-100HRBW |
有色金屬及軟金屬 |
|
C |
HRC |
金剛石圓錐壓頭 |
1471(150) |
100 |
20-70HRC |
熱處理結構鋼、工具鋼 |
|
D |
HED |
金剛石圓錐壓頭 |
980.7(100) |
100 |
40-77HRD |
表面淬火鋼、薄鋼 |
|
F |
HRFW |
直徑1.5875mm球壓頭 |
588.4(60) |
130 |
60-100HRFW |
有色金屬 |
|
G |
HRGW |
直徑1.5875mm球壓頭 |
1471(150) |
130 |
30-94HRGW |
珠光體鐵、銅鎳、鋅合金 |
A標尺:適用于測定硬度超過70HRC的金屬,如碳化鎢、硬質合金,也可以測定硬的薄板材料及表面層淬硬的材料。
B標尺:用于測定有色金屬及其合金,退火鋼或未經淬硬的鋼制品等較軟或中等硬度材料。
C標尺:用于測定碳鋼、工具鋼及合金鋼等經過熱處理的鋼制品材料的硬度。
三、主要技術參數
1、初試驗力 98.07N(10kgf)
2、總試驗力 588.4N(60kgf)980.7N(100kgf)1471N(150kgf)
3、指示器刻度 C:0——100;B:30——130
4、試件最大高度 加絲杠保護套時為100mm
不加絲杠保護套時為170mm
5、壓痕中心至機壁距離 135mm
6、硬度計外形尺寸 466×238×630mm
7、硬度計凈重 65kg
四、機構性能簡介
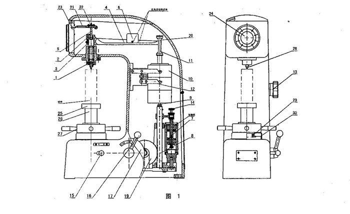
本硬度計由機身、試驗力施加機構、測量指示機構及試件支撐機構等部分組成(見圖1)。
機身為一封閉的殼體,除工作臺、絲杠、操縱手柄露出外,其它機構均裝置在機身殼體內,便于保持清潔。
試驗力施加機構由主軸、絲杠、刀刃、砝碼緩沖器、砝碼變換機構、操縱手柄等組成。
初試驗力主要由主軸(1)圓形刀子(2)長菱形刀子(3)大杠桿(4)小杠桿(21)頂桿(5)等零件的重量以及指示器(24)的測量壓力產生。當試件與壓頭接觸并繼續上升,使大、小杠桿于水平位置時(指示器小指針指于紅點處,大指針垂直向上)由于杠桿等的重量及指示器的測量壓力,壓頭即可受到(10kg)98.07N的初試驗力。
總試驗力由主試驗力(由砝碼的重量產生)加上初試驗力組成,在緩沖器(7)齒條軸(8)頂桿(9)上設有兩個砝碼(10)與吊環(11)。當拉動手柄(15)使緩沖器的活塞下降時齒條軸(8)頂桿(9)與吊環(11)砝碼(10)也隨同下降,于是砝碼(10)與吊環(11)的重量便作用在大杠桿(4)上使壓頭受到總試驗力的作用。
機身內裝有砝碼變荷架(12),當轉動變換手把(13)至不同位置時,便可得到所需要的1471N或980.7N或588.4N三種不同的總試驗力。
調整油針(14)用于施加主試驗力的施加保持一定的速度并避免沖擊現象。
手柄(15)用于施加主試驗力,手柄(16)用于卸除主試驗力,當拉動手柄(15)時,凸輪(17)及齒輪(19)開始旋轉,齒條軸(8)頂桿(9)及緩沖器活塞隨同下降,同時手柄(16)按逆時針方向轉動,當吊環在下降過程中被裝于大杠桿尾端小刀子(20)托住時,主試驗力即可完全施加。
測量指標機構由頂桿(5)小杠桿(21)調整板(22)接桿(23)及指示器(24)等零件組成。當上升試件,壓頭被頂起時,頂桿(5)便頂起小杠桿(21)經接桿(23)帶動指示器的指針旋轉。
試件支撐機構包括工作臺(25)絲杠(26)手輪(27)絲杠座(31)保護套(29)平軸承(30)構成。值得一提的是與其他廠家同型號硬度計相比較本硬度計增加了保護套(29)和平軸承(30)避免了使用過程中灰塵雜物等沾貼于支撐面,減小了對支撐面磨損,從而使操作更潤滑流暢,示值更精確穩定。
五、硬度計的安裝
1、拆箱(見圖2)
(1)、打開包裝箱頂蓋,拆除機身底部4個固定螺釘,便可將硬度計安裝在干燥清潔和沒有腐蝕性氣體及無振動的房間里。安裝硬度計的臺子應堅固,并作出直徑大于Φ50毫米的孔,以備絲杠通過。
(2)、依照裝箱單檢查附件的完整性。
(3)、打開機上蓋(6)及后蓋(19)。
(4)、松開螺母(8)卸掉鉤頭螺釘(9)。
(5)、拿掉大杠桿固定壓塊(7)及固定支撐塊(1)。
(6)、松開螺母(13)卸掉鉤頭螺釘(12)取下砝碼固定壓板(14)
(7)、用手捏住吊環(10)向上緩緩提起砝碼組(17)并同時將砝碼固定支撐塊(18)取出,然后,再將砝碼組(17)輕輕放下,使砝碼圓柱銷(15)落入托板(16)的溝槽中,將砝碼托住。
(8)解開小杠桿緊固線繩(4)
(9)、轉動手輪(1)使絲杠(2)下降,取出壓頭墊塊(3)。
2、卸下絲杠保護套(30)用煤油將出廠時涂于絲杠、手輪等處的防銹油洗凈,然后澆入少量潤滑油與絲杠與手輪接觸處,并重新將絲杠保護套裝好。
3、檢查大杠桿(4)上的調整塊(6)的位置是否處于兩個紅色的標記之間,否則應將其重新裝入正確的位置。
4、把大平工作臺裝在絲杠(26)上端,再將水平儀放在工作臺面上。在機身底部裝上4個底角水平調整螺栓,使硬度計的水平度調整在0.2/1000之內。
六、操作使用方法及注意事項
1、試驗前的準備工作
(1)、調整主試驗力的施加速度:手柄(16)置于卸荷位置,手把(13)轉到1471N的位置,將35-55HRC的標準硬度塊放在工作臺上,旋轉手輪(27)使硬度塊頂起主軸,加上初試驗力,拉動手柄(15)加主試驗力,觀察指示表大指針,從開始轉動到停止的時間應在1-8秒范圍內,如不符合,轉動油針(14)進行調整,反復進行,至到合適為止。
(2)、試驗力的選擇:根據需要(參考——使用范圍)選擇試驗力。轉動手把(13)使所選用的試驗力數值對準紅點,但必須注意,變換試驗力時,手柄(16)必須置于卸荷狀態(即后極限位置)。
(3)、安裝壓頭:根據(使用范圍)選擇適當壓頭。安裝壓頭時,應注意消除壓頭與主軸(1)端面的間隙。消除方法是:裝上壓頭并用螺釘(28)輕輕固定,然后將標準塊或試件放置于工作臺上,旋轉手輪(27)加上初試驗力,拉動手柄(15)使主試驗力加于壓頭上,再將螺釘(28)擰緊,即可消除壓頭與主軸端面間的間隙。
(4)、試件的制備與選擇
試樣應具有一定的大小和厚度,應能保證相鄰壓痕中心間及壓痕中心至試件邊緣的距離大于3毫米,試件最小厚度不應小于壓痕深度的八倍。試驗后,試樣的支撐面上不得有明顯的變形痕跡,其最小厚度取決于材質及所采用的負荷,可參考以下試樣最小厚度表。
試樣最小厚度表
|
標尺 |
硬度值
HR |
最小厚度
(mm) |
標尺 |
硬度值
HR |
最小厚度
(mm) |
|
A |
70 |
0.7 |
B |
80 |
1.0 |
|
80 |
0.5 |
90 |
0.8 |
|
90 |
0.4 |
100 |
0.7 |
|
B |
25 |
2.0 |
C |
20 |
1.5 |
|
30 |
1.9 |
30 |
1.3 |
|
40 |
1.7 |
40 |
1.2 |
|
50 |
1.5 |
50 |
1.0 |
|
60 |
1.3 |
60 |
0.8 |
|
70 |
1.2 |
67 |
0.7 |
試樣一般為平面,如果對曲面試樣進行試驗,而其曲率半徑不大時,則試驗結果應進行示值修正。對凸面試樣,應當加上修正量,對凹面試樣應當減去修正量,圓柱試樣的修正量可參考下表。
圓柱試樣C、A、D標尺的修正量
 |
圓柱形試樣直徑(毫米) |
|
6.4 |
10 |
13 |
16 |
19 |
22 |
25 |
32 |
38 |
|
20 |
6.0 |
4.5 |
3.5 |
2.5 |
2.0 |
1.5 |
1.5 |
1.0 |
1.0 |
|
25 |
5.5 |
4.0 |
3.0 |
2.5 |
2.0 |
1.5 |
1.0 |
1.0 |
1.0 |
|
30 |
5.0 |
3.5 |
2.5 |
2.0 |
1.5 |
1.5 |
1.0 |
1.0 |
1.0 |
|
35 |
4.0 |
3.0 |
2.0 |
1.5 |
1.5 |
1.0 |
1.0 |
0.5 |
0.5 |
|
40 |
3.5 |
2.5 |
2.0 |
1.0 |
1.0 |
1.0 |
1.0 |
0.5 |
0.5 |
|
45 |
3.0 |
2.0 |
1.5 |
1.0 |
1.0 |
1.0 |
0.5 |
0.5 |
0.5 |
|
50 |
2.5 |
2.0 |
1.5 |
1.0 |
1.0 |
0.5 |
0.5 |
0.5 |
0.5 |
|
55 |
2.0 |
1.5 |
1.0 |
1.0 |
0.5 |
0.5 |
0.5 |
0.5 |
|
|
60 |
1.5 |
1.0 |
1.0 |
0.5 |
0.5 |
0.5 |
0.5 |
|
|
|
65 |
1.5 |
1.0 |
1.0 |
0.5 |
0.5 |
0.5 |
0.5 |
|
|
|
70 |
1.0 |
0.5 |
0.5 |
0.5 |
0.5 |
0.5 |
0.5 |
|
|
|
75 |
1.0 |
0.5 |
0.5 |
0.5 |
0.5 |
0.5 |
|
|
|
|
80 |
0.5 |
0.5 |
0.5 |
0.5 |
0.5 |
|
|
|
|
|
85 |
0.5 |
0.5 |
0.5 |
|
|
|
|
|
|
|
90 |
0.5 |
|
|
|
|
|
|
|
|
圓柱試樣B、F、G標尺的修正量
 |
圓柱形試樣直徑(毫米) |
|
6.4 |
10 |
13 |
16 |
19 |
22 |
25 |
|
|
12.5 |
8.5 |
6.5 |
5.5 |
4.5 |
3.5 |
3.0 |
|
10 |
12.0 |
8.0 |
6.0 |
5.0 |
4.0 |
3.5 |
3.0 |
|
20 |
11.0 |
7.5 |
5.5 |
4.5 |
4.0 |
3.5 |
3.0 |
|
30 |
10.0 |
6.5 |
5.0 |
4.5 |
3.5 |
3.0 |
2.5 |
|
40 |
9.0 |
6.0 |
4.5 |
4.0 |
3.0 |
2.5 |
2.5 |
|
50 |
8.0 |
5.5 |
4.0 |
3.5 |
3.0 |
2.5 |
2.0 |
|
60 |
7.0 |
5.0 |
3.5 |
3.0 |
2.5 |
2.0 |
2.0 |
|
70 |
6.0 |
4.0 |
3.0 |
2.5 |
2.0 |
2.0 |
1.5 |
|
80 |
5.0 |
3.5 |
2.5 |
2.0 |
1.5 |
1.5 |
1.5 |
|
90 |
4.0 |
3.0 |
2.0 |
1.5 |
1.5 |
1.5 |
1.0 |
|
100 |
3.5 |
2.5 |
1.5 |
1.5 |
1.0 |
1.0 |
0.5 |


試樣表面必須經過精磨或拋光,表面粗糙度應不低于1.6,加工時不影響材料的硬度,即不應有加工硬化或出現回火現象,支撐面的表面粗糙度不低于3.2,試樣工作面,支撐面及工作臺面,均應清潔無油污。試樣應平穩地放置在工作臺上,在試驗過程中不應發生移動現象。
試樣的安裝,必須保證所施加的試驗力垂直于試驗面。對于彎曲形狀及其他不規則形狀的試樣,必須采用相應類型的專用工作臺,并選擇正確的試驗位置。例如對圓柱試樣,必須采用“V”型工作臺。
2、試驗程序
1 將絲杠(26)頂面及被選用工作臺上下端面擦干凈,將工作臺置于絲杠(26)上端面上。
2 將試件支撐面擦干凈,放置于工作臺上,旋轉手輪(27)使工作臺緩緩上升,并頂起壓頭,到指示器的小指針指著紅點,大指針旋轉三圈垂直向上為止(允許相差±5個刻度,若超過5個刻度,此點作廢,重新試驗)。注意:工作臺上升時,絕對不允許有后退現象。
3 旋轉指示器(24)外殼,使C、B之間長刻線與大指針對正(順時針或逆時針旋轉均可)。
4 拉動加荷手柄(15),施加主試驗力,這時指示器的大指針按逆時針方向轉動。
5 當指示器指針的轉動顯著停下來后,保持2-6秒鐘時間后,即可將卸荷手柄(16)以2-3秒鐘的時間推回,卸除主試驗力。注意:主試驗力的施加與卸除,均需在緩慢無沖擊狀態下進行。
6 立即從指示器上相應的標尺讀數,采用金剛石壓頭試驗時,按表盤外圈的黑體讀數,采用球壓頭試驗時,按表盤內圈的紅體數讀取。
7 轉動手輪使試件下降,再移動試件,按以上(2)—(6)過程進行新的試驗。注意a:試件一定要緊貼工作臺面移動;b:必須保證相鄰壓痕中心之間及中心至邊緣的距離大于3毫米;c:通常情況下第一點試驗只是用來抵消各支撐面間隙,試驗結果不計,應當從第二點統計試驗結果。
8 絲杠保護套(30)是為了保護絲杠(26)不受灰塵侵襲而設制的。硬度計不使用時或試件高度小于100毫米時,將其套在絲杠外面。當試件高度大于100毫米時,必須將其拿掉,以免將工作臺頂起,使試驗無效。
七、硬度計的維護與調校
1、硬度計應當在溫度為18-28℃,清潔無振動的環境中使用。
2、硬度計長時間不用時,應用防塵罩將機器蓋好。
3、定期在絲杠(26)與手輪(27)的接觸面注入少量機油。
4、如發現硬度計示值誤差較大,(1)可拿下工作臺檢查其與絲杠接觸面是否清潔;(2)檢查絲杠保護套是否頂起工作臺面;(3)檢查壓頭是否損壞。
5、若施加主試驗力時,指示器指針開始轉動很快,然后緩慢轉動,說明緩沖器內機油過少,此時可掀起緩沖器(7)上端的氈墊,緩慢地注入清潔的20#機油,同時多次拉推手柄(15)(16),使活塞上下移動多次,將緩沖器內空氣全部排出,直到活塞沉到底時有油從上面溢出為止。注意:由于受溫度影響油缸中機油容易產生稀稠變化,從而影響加荷速度,應視情況及時調整油針(14)使之達到使用要求。
6、用本機佩戴的標準硬度塊定期檢查硬度計示值精度。
將工作臺及標準塊擦干凈,在硬度塊工作面上進行試驗,決不允許在支撐面上試驗。
(2)若示值誤差較大,除按本節第4項檢查外,還應檢查標準硬度塊支撐面是否有毛刺,若有毛刺應用油石打光。
(3)在標準塊不同位置試驗時,硬度塊應緊貼工作臺面拖動,嚴禁拿離工作臺。
(4)硬度計的示值調整:若通過以上工作,硬度計示值誤差仍然較大,可通過調整板(22)的前后位置,以達到示值精度要求。方法是:松開調整板(22)上前后兩個M3螺絲,前后移動調整板(22)位置即可。注意向指示器方向移動時,示值增大,反之示值減小。調整結束后應固定緊已經松開的兩個M3螺絲。如調整后發現指示器指針不豎直向上,可松開調整板中間的M3螺絲上的背帽,旋轉此螺絲即可使指針達到要求。
(5)用戶如有其它方面疑問應及時與廠家聯系咨詢,以得到正確的解決方法。嚴禁自行拆卸,防止造成不必要的損失。
福 利:如果您想更新、淘汰公司儀器設備,我公司還提供“以舊換新 高價回收”服務
以上是洛氏硬度計的使用說明書,如您需要其它硬度計產品的使用說明書,請您聯系佛山精測儀器客服免費索取,電話微信:13889943666